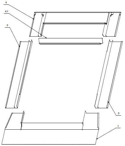
Der Eindeckrahmen stellt ein unentbehrliches Element für ein ordnungsgemäß in die Dachfläche eingebautes Dachfenster dar. Nur durch den kombinierten Einbau von Dachfenster mit den entsprechenden Eindeckrahmen wird eine dauerhafte und dichte Verbindung mit der Dacheindeckung hergestellt. Die Eindeckrahmen haben die Funktion, Regen- und Schmelzwasser abzuweisen und das Fenster vor Wind zu schützen. Wie die Fensterverblechung sind sie aus Alublechen (3105 H42), in der Standardfarbe braun RAL 8019 oder optional grau RAL 7043 (längerer Versandzeit) gefertigt.
Ein wesentlicher Vorteil der Eindeckrahmen für die Dachfenster von Skyfens ist die innovative Ausführung der Verbindung mit dem Blendrahmen. Die Oberkante des Eindeckrahmens wird in eine spezielle Rille des Blendrahmens eingeführt und mit einer Dichtung abgedeckt, wodurch das Eindringen von Wasser, insbesondere Schmelzwasser, vollkommen ausgeschlossen wird.
Alle Eindeckrahmen sind standardmäßig mit Dichtungskeilen und Rinnen ausgestattet, um das Kondenswasser von der Dachfolie, die sich über dem im Dach eingebauten Fenster befindet, abzuleiten. Anwendung finden die Rahmen sowohl für Skyfens Supro Triple und Supro Triple Thermo.
Eindeckrahmen für Skyfens Dachfenster sind in 3 Varianten erhältlich:
- F - Eindeckrahmen für wellige Dacheindeckungen (z.B. Keramik-Dachziegel, Blechdachziegel); durch das Unterteil mit der elastischen Schürze ist eine sichere Abdichtung und Wasserableitung vom Eindeckrahmen auf die Dachfläche gewährleistet.
- P - Eindeckrahmen für flache Dacheindeckungen (z.B. Bitumen-Schindel); Unterteil des Eindeckrahmens starres Blechelement, welches sich bestens an flache Dacheindeckungen anpassen lässt.
- M - Modul-Eindeckrahmen; Modul-Eindeckrahmen ermöglichen einen Blockeinbau von Dachfenster in vertikaler und/oder horizontaler Ausrichtung. Bei Einbau von Dachfenster im Modul bestimmt die Breite der Dachsparren den Mindest-Abstand zwischen zwei nebeneinander eingebauten Dachfenster. Im Standard werden die Module für 80mm Sparrenbreite hergestellt.
- Skyfens sp. z o.o. | Vetterów 7 | Lublin 20-277 | Polen | [email protected]





